QR kód
produkty
Kontaktujte nás


Fax
+86-579-87223657

E-mailem

Adresa
Wangda Road, Ziyang Street, Wuyi County, Jinhua City, Zhejiang Province, Čína
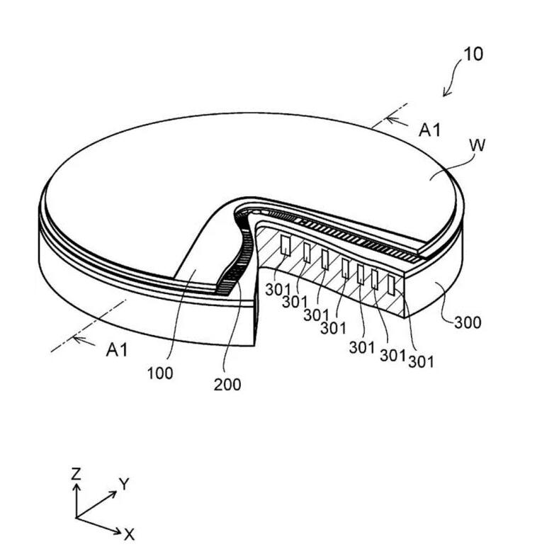
Princip DeChuckuElektrostatické sklíčidloje klíčovou součástí jeho pracovního postupu, který zahrnuje eliminaci elektrostatických sil a mechanismy uvolňování oplatky. Následuje podrobná analýza:
Jádro DeChucka je eliminovat nebo neutralizovat elektrostatickou sílu adsorbovanou na oplatce a konkrétní metody zahrnují:
Youdaoplaceholder0 odřízne sílu
Zastavte nanášení přímého proudového napětí na elektrodu a postupně eliminujte elektrické pole.
Youdaoplaceholder0 reverzní napětí nebo injekce plynu
Některé systémy budou aplikovat zpětné napětí nebo zavést inertní plyny (jako je on, n₂) k urychlení neutralizace náboje nebo fyzické separace.
Pojďme porovnat profesionální techniky výroby ESC a nejprve uvidíme, zda společnost může dosáhnout takového měřítka.
Technologie analýzy CAE, funkční materiály desky, návrh elektrod, technologie analýzy, technologie chladicího kanálu, technologie návrhu topení, vedoucí pracovníci v polovodičovém vybavení.
Japonské a jihokorejské společnosti musí být plně zaměstnány tak relevantním personálem. Pokud ne, není třeba mluvit o technologii společnosti.
Technologie Chuck, elektrody, disky a dokonce i princip Flow HE ještě nebyly objasněny. Udělejme drsný elektrostatický sací pohár. Takové společnosti jsou přímo předávány. V zásadě se používají k úpravě peněz investorů. Toto je základní úroveň vědět, jak. Investoři by se také měli vzdát společnosti, která hraje s karetními hrami a nemá zaměstnance s více než 10 lety zkušeností s leptání vybavení, protože to není společnost, která dělá praktické věci.
Pokud jde o střelbu prášku v oboru, všichni jsou ve stejném oboru. Každý z nich má svůj vlastní jedinečný vzorec. Který z nich nemá sílu být vybaven slizovanými keramickými povrchy? Investoři mohou také předat tyto konfigurace nebo společnosti, které je plně nedotkly, protože jejich základní logika je stejná: zaměřují se na vydělávání peněz, nikoli na vývoj produktů.
Pokud jde o opravu, mnoho domácích společností by mělo mít nyní odpovídající schopnosti pro L1 až L3. I když schopnosti trochu chybí, L1 to stále zvládne. Pro L3 a vyšší to nelze opravit, nebo může být subdodavatelským subdodavatelem. V každém případě stále existuje způsob, jak jej opravit.
Oprava povrchu L1 Oprava povrchu, zlepšení drsnosti povrchu/zlepšení rovinnosti/regenerace nárazu.
Oprava L2: Oprava vrstvy kloubu, zobolení kovové základny a keramické disk/opětovné naplnění kloubní vrstvy.
L3 Oprava výměny keramického disku, výroba keramického disku/zopakování kovové základny a keramického disku.
Guangdong Haituo Innovation Precision Equipment Technology Co., Ltd
Společnost zastává vedoucí pozici v návrhu a výrobě domácích elektrostatických upínačů a zařízení založených na elektrostatických sklíčkách jako základní technologii. V současné době společnost Haituo Innovation dosáhla komerční výroby elektrostatických přísavek a dokončila dodávku 4-palců až 12palcové polovodičové elektrostatické sklíčivo.
Peking Huazhuo Jingke Technology Co., Ltd
Elektrostatické sací poháry nezávisle vyvinuté společností v souladu s příslušnými standardy a zpracovánímPožadavky polovodičového průmyslu. Elektrostatické sací šálky hliníkového nitridu z Hliníku z Hliníku z hliníku vyvinuté v rané fázi do jisté míry porušily dlouhodobý monopol zahraničních výrobců v této oblasti produktu. V současné době Huazhuo Jingke aplikoval související technologii elektrostatických přísavek na výrobu produktů a dosáhl malé hromadné výroby. Může také poskytovat přizpůsobené produkty pro zákazníky.
Založen v roce 2016, je předním poskytovatelem pokročilých povlakových materiálů pro polovodičový průmysl. Náš zakladatel, bývalý odborník z Čínské akademie věd 'Institute of Materials, založil společnost se zaměřením na vývoj špičkových řešení pro toto odvětví.
Naše hlavní nabídky produktů zahrnují CVD křemíkové karbid (SIC) povlaky, tantalum karbid (TAC) povlaky, hromadné sic sic, sic prášky a vysoce čisté sic materiály. Hlavními produkty jsou sic potažený grafitový susceptor, předehřívací prsteny, diverzní kroužek potažený TAC, poloviční části atd., Čistota je pod 5ppm, může splňovat požadavky zákazníků.
Zhejiang Xinna Materials Technology Co., Ltd
Produkty elektrostatického poháru vyvinuté IT mají ukazatele výkonu, které mohou splňovat požadavky podniků na výrobu čipů. Vyskytují se vynikající vlastnosti, jako je kontrolovatelná teplota, jednotná adsorpční síla, žádné škrábance nebo vrásky během adsorpce a žádný účinek na vylučování okrajů na oplatky. Byly certifikovány vedením domácích polovodičových průmyslových podniků, jako jsou Yangtze Memory Technologies, Silan Microelectronics a North China Innovation a dosáhli prodeje. V této oblasti produktu porušil monopol zahraničních výrobců.
Hebei Zhongci Electronic Technology Co., Ltd
V roce 2022 společnost provedla strategické pohyby v oblasti přesných keramických komponent a dosáhla lokalizace vysoce technických přesných částí, jako jsou topné destičky a elektrostatické sklíčivo. Základní technické ukazatele keramických topných desek vyvinutých společností Zhongci Electronics dosáhly úrovně podobných mezinárodních produktů a uživatelé byly ověřeny. Byly aplikovány v dávkách v klíčovém domácím polovodičovém vybavení. Keramické topné destičky byly dodány ve velkém a elektrostatické učebny byly odeslány pro testování vzorků.


+86-579-87223657


Wangda Road, Ziyang Street, Wuyi County, Jinhua City, Zhejiang Province, Čína
Copyright © 2024 WuYi TianYao Advanced Material Tech.Co., Ltd. Všechna práva vyhrazena.
Links | Sitemap | RSS | XML | Zásady ochrany osobních údajů |
